Unipolar Hall Effect Switch

Unipolar Hall Effect Sensor Ic Basics

Unipolar Hall Effect Sensor Ic Basics

Using Ratiometric Hall Effect Sensors

Using Ratiometric Hall Effect Sensors

Hall Effect Sensors Work Types Applications Advantages And Disadvantages

Hall Effect Sensors Work Types Applications Advantages And Disadvantages

Hall Effect Sensor Unipolar

Hall Effect Sensor Unipolar

A1104eua T A1104eua T Allegro Microsystems Unipolar Hall Effect Sensor Switch 3 Pin Ultra Mini Sip Rs Components

A1104eua T A1104eua T Allegro Microsystems Unipolar Hall Effect Sensor Switch 3 Pin Ultra Mini Sip Rs Components

A1120lua T A1120lua T Allegro Microsystems Unipolar Hall Effect Sensor 3 Pin Sip Rs Components

A1120lua T A1120lua T Allegro Microsystems Unipolar Hall Effect Sensor 3 Pin Sip Rs Components

A1120lua T A1120lua T Allegro Microsystems Unipolar Hall Effect Sensor 3 Pin Sip Rs Components

Diodes incorporated offers a wide portfolio of cost effective switches including a line of unipolar hall switches which respond to the presence of a particular polarity of magnetic field.

Unipolar hall effect switch.

Unipolar hall effect sensor ic basics magnetic switchpoint terms. They are designed to respond to a single pole. Omnipolar hall effect switches diodes incorporated offers a wide portfolio of cost effective switches including a line of omnipolar hall switches which respond to the presence of a particular polarity of magnetic field. Unipolar and omni polar hall effect switch ics cross reference of chanyang hall effect elements ics pdf file sgs test repot of hall effect sensor elements ics pdf file price list of hall effect sensor elements ics pdf file purchase order form for hall effect switch ics doc file.

When a unipolar switch turns on the resulting output signal can be either at logic high or logic. The hall effect was discovered in 1879 by edwin hall a full 20 years before the discovery of the electron. The unipolar hall effect sensor also known as a unipolar switch animates a variety of proximity sensing devices from gear shift levers to laptop screens. The hall effect refers to the measurable voltage present when an applied current is.

Similar application notes on unipolar switches omnipolar switches and latches are provided on the allegro website. Bipolar switches are described in this application note. North ss340rt or south ss440r. Options include single open drain active low single open drain active low high single push pull active low single dual complementary push pull active low dual output high sensitivity micropower.

The us568x is a product family that provides a high sensitive unipolar hall effect switch solution designed in mixed signal cmos technology integrating voltage regulator hall sensor with advanced correlated double sampling cds offset cancellation system and an open drain output driver all in a single package. Unipolar switches bipolar switches omnipolar switches and latches. The us5881 is a low sensitive unipolar hall effect switch designed in mixed signal cmos technology. A wide range of varying output types allows for better consumer options.

Forms a hall effect sensor. A wide range of varying output types allows for better consumer options. The device integrates a voltage regulator hall sensor with dynamic offset cancellation system schmitt trigger and an open drain output driver all in a single package. There are four general categories of hall effect ic devices that provide a digital output.

Unipolar digital hall effect sensor ics the ss340rt ss440r sensor ics are small versatile digital hall effect devices that are operated by the magnetic field from a permanent magnet or an electromagnet.

A3144 Unipolar Hall Effect Switch Oh3144 A3144 Rs 15 00 Ventor Technologies

A3144 Unipolar Hall Effect Switch Oh3144 A3144 Rs 15 00 Ventor Technologies

Unipolar Hall Effect Switch High Sensitive Us568x Melexis

Unipolar Hall Effect Switch High Sensitive Us568x Melexis

Omnipolar Switch Hall Effect Ic Basics

Omnipolar Switch Hall Effect Ic Basics

Unipolar Hall Effect Switch Sensor Using 130nl

Unipolar Hall Effect Switch Sensor Using 130nl

Oh137 To 92ua Unipolar Hall Effect Switch 4981 Sunrom Electronics Technologies

Oh137 To 92ua Unipolar Hall Effect Switch 4981 Sunrom Electronics Technologies

Everyday Electronics For Everyone T K Hareendran Hall Effect Sensor Ic Mh183

Everyday Electronics For Everyone T K Hareendran Hall Effect Sensor Ic Mh183

Unipolar 3 Wire Hall Proximity Sensor Mlx92231 Melexis

Unipolar 3 Wire Hall Proximity Sensor Mlx92231 Melexis

10pcs 443f High Temperature Unipolar Hall Effect Integrated Sensor Can Replace Ss443f To 92ua Hall Effect Current Switch Halle Musichall Effect Sensor Switch Aliexpress

10pcs 443f High Temperature Unipolar Hall Effect Integrated Sensor Can Replace Ss443f To 92ua Hall Effect Current Switch Halle Musichall Effect Sensor Switch Aliexpress

Chenyang Unipolar Hall Effect Switch Ics Cyd3141e Power Supp

Chenyang Unipolar Hall Effect Switch Ics Cyd3141e Power Supp

Hall Effect Sensors Big Things In Small Packages Page 2 Of 2 Electronics For You

Hall Effect Sensors Big Things In Small Packages Page 2 Of 2 Electronics For You

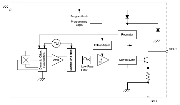
Programmable Unipolar Hall Effect Switch Has Built In Diagnostics

Programmable Unipolar Hall Effect Switch Has Built In Diagnostics

1pcs Hall Switch Sensor Allegro Sip 3 A1102eua A1102eua T A1102e A02e For Sale Online Ebay

1pcs Hall Switch Sensor Allegro Sip 3 A1102eua A1102eua T A1102e A02e For Sale Online Ebay

Hall Effect Ic Applications Guide

Hall Effect Ic Applications Guide

Buy Wsh134 Unipolar Hall Effect Switch For Electronics Circuits Proj Online At Low Prices In India Amazon In

Buy Wsh134 Unipolar Hall Effect Switch For Electronics Circuits Proj Online At Low Prices In India Amazon In

China Unipolar Hall Sensor Hall Ic Speed Sensor Hall Switch Magnetic Sensor Photos Pictures Made In China Com

China Unipolar Hall Sensor Hall Ic Speed Sensor Hall Switch Magnetic Sensor Photos Pictures Made In China Com

A1120eua T A1120eua T Allegro Microsystems Unipolar Hall Effect Sensor Switch 3 Pin Sip Rs Components

A1120eua T A1120eua T Allegro Microsystems Unipolar Hall Effect Sensor Switch 3 Pin Sip Rs Components

Unipolar Hall Effect Switch Hal3144e 44e Unipolar Hall Sensor A3144 To92s Sensor Car Switch Hingeswitch Tester Aliexpress

Unipolar Hall Effect Switch Hal3144e 44e Unipolar Hall Sensor A3144 To92s Sensor Car Switch Hingeswitch Tester Aliexpress

Https Encrypted Tbn0 Gstatic Com Images Q Tbn 3aand9gctlpzhvkdeftuljbu8sotrustuyfzcwghpxta Usqp Cau

Https Encrypted Tbn0 Gstatic Com Images Q Tbn 3aand9gctlpzhvkdeftuljbu8sotrustuyfzcwghpxta Usqp Cau

Https Encrypted Tbn0 Gstatic Com Images Q Tbn 3aand9gct1mngz Qoizmgtd9jv57hdb3jeta0kjmpw9ag Qldc 2afojxf Usqp Cau

Https Encrypted Tbn0 Gstatic Com Images Q Tbn 3aand9gct1mngz Qoizmgtd9jv57hdb3jeta0kjmpw9ag Qldc 2afojxf Usqp Cau

Ah1388 Dual Output Unipolar Hall Effect Switch Diodes Inc Mouser

Ah1388 Dual Output Unipolar Hall Effect Switch Diodes Inc Mouser

Programmable Two Wire Unipolar Hall Effect Switches 3 Package Options

Programmable Two Wire Unipolar Hall Effect Switches 3 Package Options

Ah183 Wg 7 Diodeszetex Ah183 Wg 7 Diodeszetex Unipolar Hall Effect Sensor Switch 3 Pin Sc 59 822 8739 Rs Malta Online

Ah183 Wg 7 Diodeszetex Ah183 Wg 7 Diodeszetex Unipolar Hall Effect Sensor Switch 3 Pin Sc 59 822 8739 Rs Malta Online

Diodes Incorporated S Dual Output Unipolar Hall Effect Switch Lowers System Cost And Extends Battery Life New Industry Products

Diodes Incorporated S Dual Output Unipolar Hall Effect Switch Lowers System Cost And Extends Battery Life New Industry Products

A1101eua T Allegro Microsystems A1101eua T Allegro Microsystems Unipolar Hall Effect Sensor Switch 3 Pin Ultra Mini Sip 680 7472 Rs Malta Online

A1101eua T Allegro Microsystems A1101eua T Allegro Microsystems Unipolar Hall Effect Sensor Switch 3 Pin Ultra Mini Sip 680 7472 Rs Malta Online

Allegro Microsystems A1140 A1142 A1143 Sensitive Two Wire Chopper Stabilized Unipolar Hall Effect Switches

Allegro Microsystems A1140 A1142 A1143 Sensitive Two Wire Chopper Stabilized Unipolar Hall Effect Switches

5pcs Ss443f 443f S443f 43f Unipolar Hall Effect Digital Switch To 92s Ebay

5pcs Ss443f 443f S443f 43f Unipolar Hall Effect Digital Switch To 92s Ebay

Allegro Microsystems A3250 And A3251 Field Programmable Chopper Stabilized Unipolar Hall Effect Switches

Allegro Microsystems A3250 And A3251 Field Programmable Chopper Stabilized Unipolar Hall Effect Switches

A1121 Unipolar Hall Effect Switch Efeito Hall

A1121 Unipolar Hall Effect Switch Efeito Hall

Wsh134 Datasheet Winson Semiconductor Datasheetspdf Com

Wsh134 Datasheet Winson Semiconductor Datasheetspdf Com

A1125 Unipolar Hall Effect Switch Efeito Hall

A1125 Unipolar Hall Effect Switch Efeito Hall

Och145 Switches Datasheet Pdf Digital Switches Equivalent Catalog

Och145 Switches Datasheet Pdf Digital Switches Equivalent Catalog

Wsh130nl Winson Unipolar Hall Effect Switch Ic Html Datasheet

Wsh130nl Winson Unipolar Hall Effect Switch Ic Html Datasheet

Magnetic Sensors Magnetic Sensor Is Based On Hall Effect The Effect Is Based On The Interaction Between Moving Electric Carriers And An External Magnetic Field

Magnetic Sensors Magnetic Sensor Is Based On Hall Effect The Effect Is Based On The Interaction Between Moving Electric Carriers And An External Magnetic Field

Ss441 Switch Datasheet Pdf Digital Switch Equivalent Catalog

Ss441 Switch Datasheet Pdf Digital Switch Equivalent Catalog

Hall Effect Sensor That Lasts More Than 20 Years On A Coin Cell Engineering Com

Hall Effect Sensor That Lasts More Than 20 Years On A Coin Cell Engineering Com

Hall Effect Sensor Diodes For Sale Shop With Afterpay Ebay

Hall Effect Sensor Diodes For Sale Shop With Afterpay Ebay

A1162 Programmable Precision Hall Effect Switch With Advanced Diagnostics

A1162 Programmable Precision Hall Effect Switch With Advanced Diagnostics

Allegro Microsystems A1185 And A1186 Ultrasensitive Two Wire Field Programmable Chopper Stabilized Unipolar Hall Effect Switches

Allegro Microsystems A1185 And A1186 Ultrasensitive Two Wire Field Programmable Chopper Stabilized Unipolar Hall Effect Switches

Business Industrial Other Integrated Circuits Us Shipping 5pcs Oh137 Unipolar Sensor Hall Effect Oh 137 New Ic Studio In Fine Fr

Business Industrial Other Integrated Circuits Us Shipping 5pcs Oh137 Unipolar Sensor Hall Effect Oh 137 New Ic Studio In Fine Fr

Https Datasheet Lcsc Com Szlcsc Magnesensor Tech Mst Mh254esq C114372 Pdf

Https Datasheet Lcsc Com Szlcsc Magnesensor Tech Mst Mh254esq C114372 Pdf

5pcs A1104eua T 04e Hall Effect Sensor Switch To92

5pcs A1104eua T 04e Hall Effect Sensor Switch To92

Introduction The Unipolar Hall Switch This What Is Referred To As A Unipolar Magnetic Switch In A Magnet The Lines O Arduino Arduino Sensors Arduino Projects

Introduction The Unipolar Hall Switch This What Is Referred To As A Unipolar Magnetic Switch In A Magnet The Lines O Arduino Arduino Sensors Arduino Projects

Hal504ua A 1 A 2 00 Tdk Micronas Gmbh Magnetic Field Sensors Reed Switches Online Shop Comet Electronics

Hal504ua A 1 A 2 00 Tdk Micronas Gmbh Magnetic Field Sensors Reed Switches Online Shop Comet Electronics

1

1

Source : pinterest.com